|
YTT-150 YTT-150A差动远传压力表
YTT-150-Z YTT-150A-Z耐震差动远传压力表
差动远传压力表适用于一般环境,测量对铜和铜合金无腐蚀性气体、液体和蒸汽的压力。仪表除就地指示压力值外,还能连续输出与压力值成线性的0-10mA或4-20mA直流信号,可与DDZ-II或DDZ-III型变送单元组合仪表配合应用,组成显示、记录、调节、控制等自动化系统。
耐震型差动远传压力表还具有抗振动环境、耐脉动介质及冲击载荷特性。
技术参数:

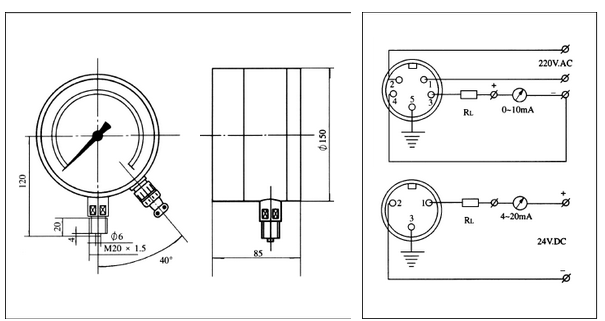
YTT-150A、YTT-150A-Z型仪表供电电源:220V;50Hz。YTT-150、YTT-150-Z型供电电源:24VDC由配电器供电。
仪表工作温度:-25℃~55℃,相对湿度不超过80%。耐震型仪表工作环境振动频率不大于25Hz,振幅不大于0.3mm。
仪表执行标准:Q/320211 DGH03-2003
仪表尺寸 接线示意图

购买压力表提供压力表技术参数如下:
1.【压力表使用】2.【压力表量程】3.【压力表直径】4.【压力表精度】5.【压力表连接螺纹】6.【压力表型号】
使用与订货须知:
工作环境无腐蚀性气体
如有问题可以联系赛莱迪仪表技术部电话0510-85886598
|